Inscription / Connexion Nouveau Sujet
Niveau quatrième
Partager :

DM Euclide: la profondeur d'un puits

Posté par
Amy18
20-10-12 à 20:35

Bonsoir à tous,
J'ai un exercice dans mon DM que je n'arrive pas à comprendre:
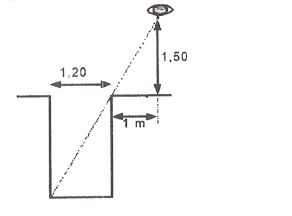
"Placer son oeil à 1,50m de hauteur et à 1m du bord du puits de 1,2m de diamètre, de telle façon que le bord du puits cache juste la ligne du fonds.
Quelle est la profondeur du puits?"


Doit-je utilisé la propriété de Thalès dans ma démonstration?
Merci de votre aide!

DM Euclide: la profondeur d\'un puits

Posté par
Tilk_11 Moderateur
re : DM Euclide: la profondeur d'un puits 20-10-12 à 20:42

Bonsoir,

Citation :
Doit-je utilisé la propriété de Thalès dans ma démonstration?


oui....
prolonge vers la droite le segment représentant le fond du puits et trace la perpendiculaire à la droite obtenue passant par "l'oeil"

Posté par
Amy18
re : DM Euclide: la profondeur d'un puits 20-10-12 à 20:56

Oui mais quel calcul doit-je effectué? Car je n'ai strictement rien compris... Et si j'imaginais un triangle rectangle? Dans la quel j'y glisserais ma propriété de Thalès?

Posté par
Tilk_11 Moderateur
re : DM Euclide: la profondeur d'un puits 20-10-12 à 21:02

Citation :
Et si j'imaginais un triangle rectangle? Dans la quel j'y glisserais ma propriété de Thalès?

c'est ce que je te propose de faire en traçant les droites que je t'ai indiquées

tu peux donner des noms aux différents points....

Posté par
Amy18
re : DM Euclide: la profondeur d'un puits 20-10-12 à 21:21

donc comme ce ci?

DM Euclide: la profondeur d\'un puits

Posté par
Amy18
re : DM Euclide: la profondeur d'un puits 20-10-12 à 21:23

Donc: AE/AC=AD/AB=ED//BC

Posté par
Amy18
re : DM Euclide: la profondeur d'un puits 20-10-12 à 22:33

AE/AC=1,5/AB=ED(=1m)//BC

Posté par
Amy18
re : DM Euclide: la profondeur d'un puits 20-10-12 à 23:32

Problème Résolut! Merci à Tilk_11 Pour son aide bénéfique! J'espère avoir une bonne note!
Au revoir!

Amy18



Vous devez être membre accéder à ce service...

Pas encore inscrit ?

1 compte par personne, multi-compte interdit !

Ou identifiez-vous :


Rester sur la page

Inscription gratuite

Fiches en rapport

parmi 1760 fiches de maths

Désolé, votre version d'Internet Explorer est plus que périmée ! Merci de le mettre à jour ou de télécharger Firefox ou Google Chrome pour utiliser le site. Votre ordinateur vous remerciera !