bonsoir a tous s v p aider moi
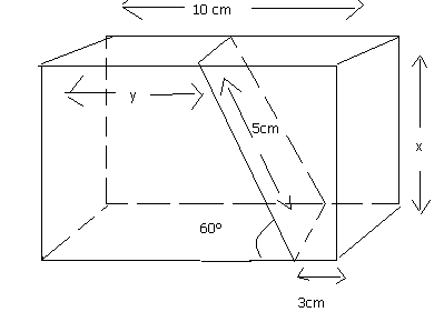
on a coupé un pavé droit par un plan parrallèle a une arête calculer x et y. merci d' avance

gé oublier de preciser ke c pour demin et ke je ni compren rien si vous pouver maider ca me ferais trés plaisirfranchement vous me sauveriez la vie
bonjour
ABCD le trapèze rectangle que tu as sur la première face
on note AB = y
AD = x
sin 60° = AD/BC = x/5 = (
3)/2
donc x = (5
3)/2
la projection de B sur (DC) donne le point E
cos 60° = EC/5 = 1/2
donc EC = 5/2
y = 10 - (5/2 + 3) = 10 - 11/2 = 9/2
Vous devez être membre accéder à ce service...
Pas encore inscrit ?
1 compte par personne, multi-compte interdit !
Ou identifiez-vous :