Bonsoir,
Je suis collégiene en 3° et mon professeur de maths nous a donné un DM. D'habitude je me rend sur son site afin de lui poser quelques questions mais il ne répond toujours pas et l'heure passe... Et comme je suis en stage je ne peux pas lui poser les questions autre que sur son forum. Donc voilà je n'ai pas compris cet exercice:
Enoncé:
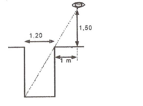
Voici une technique (technique décrite dans l'ouvrage d'Euclide, 3eme siècle av JC) utilisée dans l'Antiquité pour mesurer la profonduer d'un puits:
En plaçant son oeil a 1.50m de hauteur et a 1m du bord d'un puits de 1.20 de diamètre, le bord du puits cahe juste la ligne du fond.
QUESTION: Calculer la profondeur du puits ci dessous.
Merci d'avance...

oui je vois bien 2 triangle et je pense rectangle d'ailleurs. Mais je ne vois tjrs pas le raisonement...
semblale veut homothétique
le premier triangle rectangle à un côté de l=1 m et un autre de L=1.5 m
l'autre a un côté de l'=1.2 m et d'un côté de L'= profondeur
étant homothétique alors l'/l = L'/L
L'=1.2L = 1.2*1.5=1.8 m
D.
Et si je considererai que c'est un triangle rectangle ABC. Couper par E et D.
Ca voudrait dire que ED//CB donc je pourrait utilisé la configuration de Talès, non?
Comme ça, ça donnerai le résultat suivant:
(CE) et (DB) sont sécantes en A et ED//CB donc d'après le Théorème de Talès on a :
AE/AC = AD/AB = ED/CB
et ensuite j'effecturai un produit en croix.
Je prendrai AD/AB = ED/CB = 1.50/AB = 1/2.20
= 1.50 X 2.20/ 1
= 3.3
Donc la profondeur du puit est de 3.3 m
Mais le problème c'est comment démontrer que "ED//CB" ?Car l'énoncé ne me le dit pas !
Merci d'avance...

Thalès est sûrement la méthode qu'avait appliquée Euclide..
je m'avance un peu, mais Euclide s'est sûrement posé les mêmes questions que toi, mais je pense que par construction le fond du puit est plat (donc parallèle au sol) d'ou ED parallèle BC.
sinon les 3.3 m que tu trouves c'est la distance AB : la hauteur au niveau des yeux + la profondeur :
1,5 +1,8 m
D.
Alors en faite je n'ai qu'a aditionner 1.20 et 1.50. Donc je n'ai pas besoin de prendre le théorème de Talès ?
si Thalès c'est très bien aussi.
la méthode des triangles semblables évitent la création du point B.
Thalès c'est bien..
D.
Donc je prend Talès avec ma démonstration et je n'oublie pas d'ajouter la hauteur au niveau des yeux + la profondeur : 1,5 +1,8 m pour répondre a la question ?
J'ai la même chose et je suis totalement perdue! je n'arrive pas à comprendre. Djà on ne sait pas si les triangles sont rectangles si ? & On ne sait pas si il y a des parallèles... Enfin j'y arrive vrmt pas!
rislou j'ai bien compris la solution avec thales mais pour savoir la pronfondeur du puit faudrai-t-il pas soustraire 3.3 par 1.50 pour trouver la pronfondeur ?????
oui c'est ça kiwi faut faire 3.3 -1.5 vu que là il a cherché pour [AB] sauf qu'on veut [DB]
ça fait 1.8 m de pronfondeur
Vous devez être membre accéder à ce service...
Pas encore inscrit ?
1 compte par personne, multi-compte interdit !
Ou identifiez-vous :