Inscription / Connexion Nouveau Sujet
Niveau cinquième
Partager :

Patron d'une part de camembert.

Posté par
Leeaa
29-04-12 à 18:32

Bonjour !
Je n'est pas du tout compris mon dernier exercice de mon dm de math .
Voici l'énoncer ;
On coupe en quatre part un camembert de 3cm de hauteur et de 13cm de diamètre
Construire un patron d'une pat de camembert .

Qui peut m'expliquer comment le réalisé ?

Posté par
mijo
re : Patron d'une part de camembert. 29-04-12 à 20:05

Bonsoir
Voici une image
2 quarts de cercle de rayon 6,5 cm et un rectangle longueur 13*∏/4, largeur 3 cm

Patron d\'une part de camembert.

Posté par
Leeaa
re : Patron d'une part de camembert. 29-04-12 à 20:11

Pouvez vous m'expliquer comment vous avez trouver les mesures ?

Posté par
mijo
re : Patron d'une part de camembert. 30-04-12 à 12:30

Tu n'as sans doute pas bien lu ce que j'avais écrit
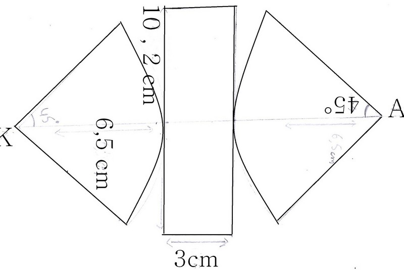
Le rectangle a une largeur de 3 cm, c'est l'épaisseur du camembert donnée dans l'énoncé, sa longueur est la longueur de la circonférence du camembert ∏D/4, car il est coupé en 4 parts égales soit 13*∏/410,21 cm
Pour faire le tracé, tu dessines le rectangle, par le milieu de sa longueur tu traces une verticale (AK), du milieu de la longueur du rectangle tu portes de chaque côté le rayon du camembert soit 6,5 cm, ce qui donne les points A et K
De part et d'autre de la verticale, tu traces un angle de 45°, puis de A et K comme centre un arc de cercle qui te donne les points B, D, M et L

Posté par
Leeaa
re : Patron d'une part de camembert. 30-04-12 à 14:27

Ah oui désoler .
J'ai un problème avec sa longueur , elle mesure 10 , 21 ?

Posté par
Leeaa
re : Patron d'une part de camembert. 30-04-12 à 15:19

Voilà , mon patron .
Désoler , je l'ai scanné donc les trais ce sont effacer alors je les ai repasser sur l'ordinateur !

Patron d\'une part de camembert.

Posté par
mijo
re : Patron d'une part de camembert. 30-04-12 à 18:07

Désolé le m'aperçois que j'ai oublié 2 rectangles qui permettent de refermer le camembert sur les côtés du secteur
c'est a dire dessiner 2 rectangles de longueur AB et BD et de largeur 3 cm accolés à AB et BD

Posté par
momo22
re : Patron d'une part de camembert. 01-05-12 à 16:44

bonjour

j'ai le meme exo et je n'y arrive pas

qui peut m'expliquer?

merci

Posté par
mijo
re : Patron d'une part de camembert. 01-05-12 à 20:04

Voici le dessin complet

Patron d\'une part de camembert.

Posté par
momo22
re : Patron d'une part de camembert. 01-05-12 à 22:26

merci beaucoup mijo

j'ai bien compris mais pourquoi tu rajoutes 2 rectangles en haut ?

et la longueur (eh) c'est bien 6,5 ?

Posté par
mijo
re : Patron d'une part de camembert. 02-05-12 à 12:09

Le rectangle du milieu vient épouser les arcs de cercle et les 2 du haut les côtés rectilignes du secteur de cercle
les 2 petits rectangles ont une longueur égale au rayon du secteur soit 6,5 cm (l'énoncé dit que le camembert a un diamètre de 13 cm)
Fais-toi un patron en carton mince, découpes-le et en rabattant tu obtiens ta part de camembert, c'est la meilleure façon de comprendre

Patron d\'une part de camembert.

Posté par
momo22
re : Patron d'une part de camembert. 02-05-12 à 22:39

bonsoir

oui c'est ce que j'ai fait ce matin et j'ai tout compris.

je te remercie de m'avoir aider. c'est vraiment sympa

Bonne soirée Mijo

Posté par
Lebods
re : Patron d'une part de camembert. 03-11-16 à 13:08

Bonjour, j'ai le même exercice mais pas avec les mêmes consignes si vous pouvez me répondre sa serait top:

Une boîte de douze portions de fromage a la forme d'un cylindre de diamètre 12 cm et de hauteur 3 cm.
Tracer un patron d'une de ces portions.

Posté par
mathafou Moderateur
re : Patron d'une part de camembert. 03-11-16 à 13:22

Bonjour,

pareil sauf que au lieu de 1/4 c'est 1/12

longueur du rectangle accroché aux arcs de cercles = 1/12 du périmètre du cercle de diamètre 12cm
angle des secteurs = 1/12 de 360° = ...

et toujours les deux rectangles de largeur 3 (la hauteur du fromage) et de longueur = le rayon

nota : il y a plusieurs façons d'accrocher ces cinq morceaux entre eux pour faire des patrons différents du même solide

Posté par
Lebods
re : Patron d'une part de camembert. 03-11-16 à 15:24

Bonjour,

J'ai lu votre message, je vous remercie énormément j'ai très bien compris mais pouvez m'expliquez avec un dessein si possible comment tracer 1/12 du cercle.
Merci beaucoup.

Cordialement, Lebods.

Posté par
mathafou Moderateur
re : Patron d'une part de camembert. 03-11-16 à 15:28

1/12 de cercle c'est un angle de 360/12 = ...

c'est aussi la moitié de 1/6 qui est obtenu en traçant une "rosace" au compas
on en coupe une des parts en deux pour faire 1/12

Posté par
Lebods
re : Patron d'une part de camembert. 03-11-16 à 15:43

Merci beaucoup, grâce à vous j'ai très bien compris.

A très bientôt.

Posté par
Lebods
re : Patron d'une part de camembert. 03-11-16 à 17:42

Bonsoir,

En étant entrain de dessiner le patron, j'ai calculé à la calculatrice 12×3,14=37,68
Et en divisant 37,68 par 12 =3,14. Or mon rectangle ne peut pas avoir 3,14 de longueur et 3 de largeur, j'ai essayé de le dessiner mais ça ne vas pas avec le 1/12 de cercle d'angle 30°.

Merci de me répondre.

Posté par
mathafou Moderateur
re : Patron d'une part de camembert. 03-11-16 à 18:42

et pourquoi donc ça n'irait ps ??
il n'y a rigoureusement rien de choquant dans ce patron :

Patron d\'une part de camembert.

Posté par
Jenni2009
re : Patron d'une part de camembert. 05-05-19 à 17:54

Bonjour,
Je dois moi aussi faire le patron d'un quart de camenbert pouver vous m'aider a le realisé.
Voici les mesures:
2 cm de hauteur et 5 cm de rayon.
Et je dois aussi justifier les constructions.
Merci beaucoup d' avance.

Posté par
Jenni2009
re : Patron d'une part de camembert. 05-05-19 à 17:56

Jenni2009 @ 05-05-2019 à 17:54

Bonjour,
Je dois moi aussi faire le patron d'un quart de camenbert pouver vous m'aider a le realisé.
Voici les mesures:
2 cm de hauteur et 5 cm de rayon.
Et je dois aussi justifier les constructions.
Merci beaucoup d' avance.

Posté par
mathafou Moderateur
re : Patron d'une part de camembert. 05-05-19 à 20:00

Bonjour,

tout a été dit
essaie.

Posté par
Jenni2009
re : Patron d'une part de camembert. 05-05-19 à 22:26


C'est bon, j'ai bien compris l'exercice,
Merci beaucoup !!!



cancel Le site a rencontré un problème temporaire.
Merci de retenter l'opération plus tard


Mentions légales - Retrouvez cette page sur l'île des mathématiques
© digiSchool 2026

Vous devez être membre accéder à ce service...

Pas encore inscrit ?

1 compte par personne, multi-compte interdit !

Ou identifiez-vous :


Rester sur la page

Inscription gratuite

Fiches en rapport

parmi 1768 fiches de maths

Désolé, votre version d'Internet Explorer est plus que périmée ! Merci de le mettre à jour ou de télécharger Firefox ou Google Chrome pour utiliser le site. Votre ordinateur vous remerciera !